Changing EDC Survival Tools for everyone with a (now) patented integral fire starter.
Patent Filed, Patent Pending, Patent Granted.
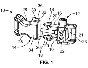
We filed the original provisional patent in 2013 for our innovative fire starting buckles (now lovingly known as Firestorm™ Buckles).Through a little persistence and a lot of patience, we received notice that the patent has finally been granted!
Want to nerd out on survival gear? See the documentation at https://patents.google.com/patent/US9986789B2/en
Or really get in there and see the USPTO version.

You could say our original buckle design took the paracord bracelet industry by storm and changed the meaning of a "survival bracelet". Before the release of the Firestorm™ Buckle, paracord bracelets were just that...paracord. While cordage is useful, incorporating a firestarter, a knife, a whistle, and a signal mirror into the buckle itself, meant that any paracord bracelet (any soft-goods incorporating a buckle) could more realistically become an asset in a survival situation. And while many companies were busy trying to copy our original design, we were busy improving it!
We couldn't be more proud of this game changing contribution we've made to the Survival Gear industry.
To celebrate, we reduced the price of the buckle, and made it available at even further discounts when purchased in packs of 5 or 10!
Get Your Fire Starter Survival Buckles






